Mahmoud H. Haghighi, Ph.D.
Bechtel National, Inc.
151 Lafayette Drive
P.O. Box 350
Oak Ridge, TN 37831-0350
ABSTRACT
Under Environmental Protection Agency (EPA) regulations and the Comprehensive Environmental Response, Compensation, and Liability Act, the risk attributable to releases from a contaminated site (due to waste management practices) to a hypothetical resident receptor should be evaluated. Also results of risk assessments are used to prioritize waste management and site remediation activities.
Estimates of exposure and risk are usually calculated for a hypothetical resident receptor at this site, using Risk Assessment Guidance for Superfund (RAGS), Volume I, Human Health Evaluation Manual (Part A). The scope and objectives of such evaluation are to estimate risk to an individual (human health) due to the contaminants of potential concern produced by a site operation or waste management practices. Most often these values overestimate the risk levels (very conservative) to human health especially in the case of radiological contaminants. This results in stringent cleanup criteria that may not be achievable with current technology or budget. One such situation is the proposed federal regulations by the Nuclear Regulatory Commission (NRC) and the Environmental Protection Agency (EPA) for cleanup criteria to be applied to radiological remediation activities, has been set at 15 mrem/y above background. To verify that the criterion has been met (upon the completion of the cleanup) depends on two major factors: 1) the determination of the natural background against which the criterion is applied, and 2) the sensitivity of the measurement protocols for evaluating the residual activity to the criteria.
This presentation will describe a proposed new method in selecting the radiological contaminants of potential concern at a site and calculates exposure/risk using exposure parameters range and distribution along with statistical range analysis methodology. EPA RAGS methodology for exposure assessment, toxicity assessment, and risk characterization are briefly explained and compared to the new proposed method. In addition other types of risks existing in todays society is due to other human behavior coupled with the risks associated with some of the established regulatory limits will be discussed and compared to EPA action levels.
INTRODUCTION
To understand risk in the context used, one needs to define its meaning, Webster Dictionary defines risk as follow: probability of loss, injury, disadvantage, or destruction. The definition described for risk by Academic Press Science and Technology Dictionary is: a function of the unknown parameter describing the expected loss associated with a decision rule. US Environmental Protection Agency (US EPA) defines risk to human health as: probability of excess cancer events (morbidity ) due to exposure to a radiological or chemical contaminant. ICRP defines risk to human as: probability of excess death event (mortality) due to exposure to radiological contaminants. Even though the risk definitions may vary, one common link is that the risk value is the probability of an unknown parameter.
In day to day life, humans are being surrounded by many types of risk such as accidents (motor vehicle, home, public, work place, etc.) , occupational, unemployment, overweight, social connection/socioeconomic factors, use of compact cars, active and passive smoking, air pollution/environmental/natural hazards, geographical locality, medical, sports, epidemics, and energy consumption. In general, we live in a risk oriented society and consciously or unconsciously we are taking risk every day.
The types of risk arising from a site contaminant that the EPA or US Department of Energy (DOE) is concerned with can be categorized in two general areas; 1) risk to human health, and 2) risk to the environment (such as surface water, ground water soil, plants, animals, etc.). Generally these risks are the governing forces for environmental remediation and restoration. In addition these risks are used to prioritize the cleanup activities and waste management.
ELEMENTS OF A TYPICAL HUMAN HEALTH RISK EVALUATION
For the purpose of this paper only evaluation of risk to human health is considered. Risk to human health is normally evaluated for site-related contaminants released to the environment and subsequently to human, due to site operation and site waste management practices. The contaminants generally can be categorized into two types, 1) radionuclides which could be fission fragments (i.e. Cs-137/Ba-137m , Sr-90/Y-90), activation product (i.e. Co-60), or naturally occurring isotopes (i.e. U-238, Th-232, Rd-226, Rn-222); 2) hazardous chemicals which could be from one of the following categories, volatile organic compounds (VOCs) (i.e. acetone, naphthalene, toluene, xylene), semi-volatile organic compounds (SVOCs) (pyrene, phenol, chrysene, fluroranthene), pesticides/PCBs (i.e. 4,4-DDD, 4,4DDT, endosufan I), and metals (i.e., arsenic, aluminum, lead, beryllium, cobalt, chromium).
As part of the risk evaluation process, the site historical background is reviewed and based on the available information the site historical background a site conceptual model is designed. This model would describe the site setting, identify the site source terms, and provide a description of how the contaminants would be released, migrated, and transported (contaminant fate and transport) from the source area to the human exposure point. Once the site conceptual model is designed and agreed upon by the parties involved, available site historical and monitoring data would be evaluated and based on the results of these studies data quality objectives (DQOs) and future data needs (new data), methods, and media to be collected from would be established. At this point data would be collected for both on-site (contaminated areas) and off-site (reference or background) constituents present in different media. The next step in a risk evaluation is to identify the hypothetical scenarios and receptors. Based on the future and current plans for land use in the area that a risk evaluation is being performed for, one of the following hypothetical scenarios and receptor would be selected: Residential; Commercial: and Recreational. As part of hypothetical scenario, once the type of hypothetical receptor is selected, a decision would be made for location of the hypothetical receptor in relation to a contaminated site. Either the hypothetical receptor would be located on-site or off-site taking into consideration the plans for land use in the area under study. In addition to these steps a complete pathway analysis would be performed based on the outcome of a hypothetical scenario/receptor and receptor location selection. Outcome of these analysis would determine the selection of primary and secondary exposure pathways. Primary pathways normally considered are inhalation of the contaminated particulate or vapor in the air, ingestion of contaminated surface water and/or ground water, incidental ingestion of the soil, and direct external exposure to the contaminated soil/water. Secondary pathways most often used are consumption of fauna, flora, and byproducts that are grown in the contaminated area, consumption of fish residing in the body of contaminated surface water in the area (lakes or ponds), and recreational activities that may result in exposure to the site related contaminants (i.e. swimming, and walking). It is essential in this process that the hypothetical scenario, hypothetical receptor, receptor location in relation to contaminated site, and contaminant exposure pathways would be selected as close as possible to the actual situation expected from the outcome of the land use plans. Otherwise the decision direction may fall into an unwarranted or undesirable action path.
Selection of the contaminants of potential concern (COCP), for purpose of exposure point concentration calculations, is another important part of a risk evaluation. After reviewing and validating all field and sample data as per direction prescribed by the elements of DQO established prior to data collection activities, a systematic method should be devised to eliminate contaminants that might not be of concern or would not have a significant effect on the outcome of the risk evaluation. This process reduces the number of site related contaminants for the risk evaluation process from a much larger list of contaminants and in turn reduces the evaluation process time and reduces cost and the schedule. This process is specifically helpful in the case of radionuclide and metals.
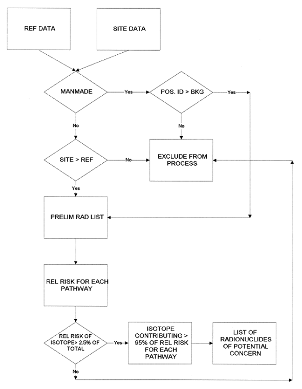
For the propose of this paper the following proposed COCP selection method is developed to obtain radionuclides of potential concern (ROPC). This method follows the steps shown in Fig. 1. First, data would be examined to identify those radionuclides that are not naturally present in the environment. Any positive indication (concentrations greater than minimum detection limit (MDL)) that a man-made radionuclide is present would lead to its inclusion in the ROPC list. Next the individual naturally occurring radionuclides concentrations in the site field and sampling activity would be compared with theconcentrations of the same radionuclides in the reference data (background samples, which are defined as samples from areas that have not effected by the site operation and waste management practices). This comparison would be made employing a statistical hypothesis testing method such as Wilcox on rank sum, Quantile stet, or a similar and applicable method. If the result of site and reference comparison is not significantly different , acceptance of the null hypothesis (H0), then the radionuclide would be excluded from the ROPC list. In addition the effect of reported measurement method uncertainties should be considered. As the final step in the identification process, the remaining radionuclides are ranked according to their potential relative risk (percent risk contribution to the total risk) using the median concentration of each radionuclide in the medium of concern for each of the primary pathways. Those radionuclides contributing the least (2.5% or less on an individual radionuclide basis) relative risk would be eliminated from further analysis. US EPA usually has a simplistic and very conservative approach to selection of the COPC that could cause unnecessary actions which in turn would result in prolonged cleanup schedule and costly cleanup activities.

Fig. 1. Contaminant
of potential concern selection process.
An exposure assessment is the process of estimating the type and magnitude of exposures to a hypothetical receptor from the site related COCP. The estimated exposures (i.e., potential for intake of contaminants) are a function of the effected environmental conditions under which the hypothetical receptor live. This includes the hypothetical receptors activities and behavior, and the length of time the hypothetical receptors pursue these activities within the effected environment. Note that the presence of a contaminant does not mean that exposure to this contaminant will occur or that an exposure will result in harmful effect. The quantification of exposure determines the intake to the hypothetical receptor from each exposure pathway. This quantification is a two stage process: 1) the contaminant concentration to which the hypothetical receptor would be exposed via different media are estimated; and 2) these concentrations are combined with other intake variables (e.g., ingestion rate, body weight, exposure frequency and duration) to yield pathway-specific chronic intakes. The chronic intakes will then be used along with an associated toxicity factor for each contaminant to estimate risk
US EPA recommended methodology is defined in Risk Assessment Guidance for Superfund, Volume I, Human Health Evaluation Manual . An example calculation is described below: Exposure (total chronic intake) due to ingestion of contaminate surface or ground water.
TCI = C*ED* EP*CR*CF (EPA RAGS)
TCI = Total chronic intake of a n isotope (for 30 y)
C = Isotope concentration in water , 95% UCL (pCi/l)
ED = Exposure duration (d)
EP = Exposure period (30 y)
CR = Water consumption rate (2 l/d)
CF = Conversion factor (350 d/y)
Most often the exposure variables used (as recommended by EPA)are the most conservative values for that specific exposure pathway resulting in a very conservative TCI. Also this method offers only one point estimation which is very limited in its own nature.
The proposed new method suggests the identification of underlying distribution (using a distribution test technique such as Shapiro-Wilk W test) for each exposure parameter using site specific demographic data, determine the standard deviation (SD) of the distribution. Next use the calculated SD and divide the range for each exposure parameter into equal portions of its SD. In the next step one could permute through the new variables and calculate a series of TCIs for each exposure pathway of concern, and determine a distribution function for these calculated TCIs. This method provides the end user with a tool to select his/her own criteria to select the TCI limit based on confidence level required for the task at hand. In addition this method provides information regarding the distribution of TCIs around the mean of the population and consequently the risk distribution for the site specific population.
US EPA RISK LIMIT AND COMPARISON TO OTHER RISK IN THE SOCIETY
EPA has defined its average lifetime target risk range as 10-6 to 10-4 for the lower and upper limits of risk to human health due to site related contaminants. Even though these limits might work for chemical contaminants, its application to the radionuclides does not seem appropriate. For perspective consider the probability of an individual developing cancer from exposure to naturally occurring background radiation (Table I). Unlike many other risks, exposure to natural radiation is unavoidable. The lifetime risk of cancer due to natural background radiation is approximately 1.4 x 10-2 which is 100 times greater than the EPA upper bound of target risk to human health.
Table I. Average US Background Radiation

In addition it should be noted that there are significant inconsistencies among current radiation protection standards regarding the acceptable level of risk attributable to radiation. Table II presents a summary of the estimated lifetime risk to public associated with selected standards. To estimate the risk values recent risk factor and organ-specific weight factors reported in ICRP 60 are used rather than those reported in ICRP 28. Following observation could be made regarding these radiation protection and environmental radiation standards for the public.
Table II. Estimated lifetime risks associated with selected
radiation protection and environmental protection and environmental radiation
standards for the public

Lastly there are other risks present in the society (see Table III) that often forgotten by us due to their close nature of them in our daily behavior and practices as part of the society which by no means is negligible. In fact at times they far exceed the EPA limits and the frequency of their occurrence are annual rather than EPAs which is average life time!
Table III Risk Associated to Various Types of Risk in Human Society
CONCLUSION
In conclusion the following are suggested:
REFERENCES