M. J. Put, J. Marivoet, G. Volckaert and B. Neerdael
SCKCEN
Boeretang 200, B-2400 Mol
Belgium
ABSTRACT
Because of limited resources available for the research on geological waste disposal we needed an effective research strategy. Therefore we used performance assessment to determine the most critical components of the system. The results of a preliminary performance assessment study indicated that the Boom Clay formation was the main barrier and deserved the most attention. From the interaction with this study we derived a list of radionuclides to consider in the migration R&D program. We identified the sensitive phenomena and parameters for the conceptual model, and focused the research on the study of these phenomena and the measurement of the parameters. To study the migration of radionuclides in the Boom Clay we used laboratory diffusion and percolation experiments on small clay cores. To test the soundness of the approach and to gain confidence in the obtained model and parameters we started large scale in situ radionuclides migration experiments. After eight years these large scale experiments still show good agreement with the predictive calculations.
INTRODUCTION
In Belgium, the Boom Clay Formation at the Mol site is studied as a candidate host formation for the disposal of high-level radioactive waste (HLW) (1). This formation is situated between -160 and -270 m, and is the uppermost clay formation of an alternating sequence of clays and sands deposited about 30 million years ago. Boom Clay is a plastic clay and shows the following promising properties to act as a barrier against the migration of radionuclides:
Performance assessments of the geological disposal of HLW in the Boom Clay have shown that the most effective and reliable barrier of the multi-barrier repository system is the host clay layer (2, 3). The engineered barriers give additional protection and prevent the transport of radionuclides during the thermal and the radiation phases. An integrated and site specific research program is carried out since 1974 on the following topics related to the Boom Clay: thermal impact of the HLW on the host formation, geomechanical and hydraulic properties of the host rock, radionuclide and gas migration, repository backfill and sealing studies (1, 4). In case of the migration study, the approach used consists of the following steps: identification of the relevant migration mechanisms, development of a reliable model for the calculation of the migration of radionuclides, measurement of the model parameters by appropriate experiments, and validation of model and parameters by large scale in situ migration experiments. The results obtained from the research program are used in performance assessments, which provide feedback to the R&D program. Large scale demonstration and validation tests contribute to build confidence in the repository system and in the results of the performance assessment calculations (5).
The reported research is jointly sponsored by the Belgian national waste authority NIRAS/ONDRAF and by the European Communities.
PERFORMANCE ASSESSMENT INTERACTION METHODOLOGY
The interaction between the radionuclide migration program and performance assessment can be applied at different levels:
- to select the radionuclides of most concern, with the potentially highest dose to man, and to focus the research efforts on those radionuclides
- to determine the elements of the multi barrier repository system that are the most sensitive for the release of radionuclides to the biosphere
- to determine the most critical model parameters by probabilistic safety assessment studies, and determine the most sensitive parameters who contributes the most to the uncertainty in the calculated dose to man
- to test the robustness of the conceptual models and the importance of the different phenomena considered
The interaction is an iterative process, which is used to focus the R&D program on the most critical issues. First a preliminary performance assessment is done on the basis of limited information from the host rock characterization and from literature data. The results of the preliminary performance assessment are used to make a list of radionuclides, which deserves more research. As new experimental data are introduced in the performance assessment studies, the uncertainties in the results are reduced and the research priorities may be reoriented. In these procedure however, one should be careful not to run in a self confirmation cycle, but leave sufficient freedom for the test of alternative conceptual models and scenarios.
APPLICATION TO THE MIGRATION PROGRAM
For the early performance assessment study, experimentally determined migration parameters were only available for a small number of radionuclides (Pu, U, Cs, Sr, Tc). For the other radionuclides the migration parameters were estimated on the basis of literature data or chemical analogy; a strong degree of conservatism had to be introduced in the estimated parameters (2, 3). From the results of the assessment a number of very important radionuclides were determined. Thereafter the migration parameters of these radionuclides were experimentally determined in the R&D program on migration (4). In later assessments the new migration parameters were applied, and for many radionuclides the calculated doses were reduced with several orders of magnitude if compared with the results of the first assessment. For some radionuclides, especially for Tc, it appeared that the applied chemical conditions strongly influence the measured parameter values. As a consequence, very high 99Tc doses were calculated in the early assessment, whereas the 99Tc doses calculated in the most recent assessments are about negligible (2, 6, 7).
In the case of the Mol site the PAGIS (2) and PACOMA (3) projects were the first integrated performance assessment studies. PAGIS and PACOMA were projects, co-ordinated by the European Commission (EC), on the performance assessment of the disposal of respectively high-level and medium-level radioactive waste in the various geological host formations considered in the European Union, i.e. clay, granite and salt. The Mol site was the reference site for disposal in clay. These studies clearly showed that the Boom Clay formation is the most important barrier against the release of radioactivity to the biosphere, and that the diffusion constant was the most sensitive parameter. They also indicated that from the total inventory of radionuclides in the waste, only 14C, 99Tc, 129I, 135Cs, 237Np, 79Se, 93Zr, 107Pd, with the U-, Am-, Cm-, and Pu-isotopes are the most important. We used this information to guide the radionuclide migration research (4).
In the UPDATING 1990 (6) the PAGIS and PACOMA studies are updated with the new data acquired from the radionuclide migration research. This led not only to an important reduction of the uncertainties, but also a change in the order of importance for the different radionuclides. The function of the Boom Clay as the main barrier was also confirmed.
In the case of rather expensive research programs, such as the one on the role of organic matter on the migration of radionuclides, the program management requested the performance assessment team to make a preliminary assessment of the potential impact of organic complexation on the performance of the repository system. On the basis of existing data for the mobility of the dissolved organic matter (8) performance assessment calculations were done (7, 9). An important conclusion of this preliminary assessment was that the potential influence of organic complexation is considerable especially for a number of trivalent actinides, and therefore the research on the role of organic materials is continued.
In the EVEREST (7) project of the EC, systematic scenario studies were elaborated as well as various sensitivity studies to determine the parameters, processes and assumptions that strongly influence the calculated doses. From the study for the Mol site the importance of the solubility of the radionuclides in the near field on the flux released to the biosphere was estimated. To improve the reliability of the near field simulations the study of the speciation and the solubility limits under in situ conditions of the important radionuclides was included in the R&D program.
RADIONUCLIDE MIGRATION PROGRAM
The migration program of the 1991-1995 period was defined on the basis of the migration data already available and the missing or incomplete data still required by the performance assessment studies PAGIS and PACOMA.
The studied radionuclides are divided in three groups, the first two based on the calculated dose rates, and the last group for the basic study of the migration mechanisms:
The migration of radionuclides in the Boom Clay has been studied by laboratory diffusion and percolation experiments on small clay cores, and by large scale in situ migration experiments (10,11,12,13). Because of the very low hydraulic conductivity of the Boom Clay, the migration of radionuclides is mainly controlled by molecular diffusion.
To study the basic phenomena governing the migration of radionuclides in the Boom Clay, through-diffusion and percolation experiments with non-sorbed radionuclides have been used. The studied radionuclides are: tritiated water, iodide and bromide isotopes, 14°C labeled bicarbonate, and labeled small organic molecules. The results of the experiments show that the key parameters for the migration are: diffusion accessible porosity, retardation constant, apparent diffusion coefficient and hydraulic conductivity. The clay fabric influences the value of the migration parameters as observed clearly with the non sorbed radionuclides. The values of the apparent diffusion coefficient and of the hydraulic conductivity depend on the clay core orientation with respect to the bedding plane, and on the consolidation pressure applied. The dual role of the natural organic matter for the migration of trivalent actinides was also pointed out: large immobile organic molecules contribute to its retention while small mobile molecules (0.01% of total organic content) enhance its mobility.
LARGE SCALE IN SITU VALIDATION TESTS
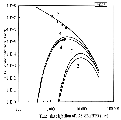
For the validation of the migration model and the parameters, three large scale in situ migration experiments with non-sorbed tracers are carried out in the Boom Clay Formation from the HADES underground research facility (4). One experiment with tritiated water (HTO), and two experiments with 125I-. Their purpose is to validate the conceptual diffusion-advection migration model, and the values of the migration parameters obtained from small scale laboratory migration experiments. HTO has been injected in a filter located in the Boom Clay in January 1988 and the HTO concentrations in the clay water are measured at filters located at 1 and 2 meters from the injection filter. As shown in Fig. 1, a good agreement still exists between the model calculations with the MICOF code and the experimental results. This experiment clearly proves that the diffusion-advection model can be used at a metric scale and that the diffusion parameter values derived from laboratory scale experiments remain valid for large scale in situ conditions (upscaling of the considered length by a factor 50). This experiment is continued.
At two other filters 125I- has been injected in the host formation in June 1992. The agreement between the model calculations and the experimental results is less good than for the HTO experiment. Due to the sampling of the injection filter, a small systematic deviation between the calculated and the measured concentration of the source exists. Nevertheless, the agreement between the experiment and the model is fairly good. Because of the short half-live

Fig. 1 After eight years we still
observe a good agreement between calculated (lines) and measured (symbols) HTO
concentrations for injection filter (5), for filters at a distance of one meter
(4 and 6), and for filters at a distance of two meters (3 and 7).
(60 days) the 125I isotope the experiment is finished. But now the same filters are used for two new large scale in situ injection experiments with 14°C labeled organic matter extracted from the Boom Clay water. These experiments must allow for the validation of role of the organic matter in the performance assessment.
CONCLUSIONS
A good interaction between performance assessment and basic research provides feedback and can better focus the research on the really important issues, and thus reduce the cost. A critical review of the results of the performance assessment can drastically reduce the number of radionuclides to be studied. In the case of a repository in Boom Clay the number of critical nuclides to be studied was reduced to five.
The basic idea behind geological disposal was confirmed for the Boom Clay, namely the host formation must be the main barrier. The most important model parameters are the diffusion constant and the solubility under in situ conditions.
Special attention has to be given to the importance of the complexation with organic matter. Because the dissolved organic matter can act as a transport agent and thus short-circuit the favorable sorption properties of the clay.
REFERENCES