A. Husain and C. Breckenridge
Ontario Hydro
Toronto, Ontario M8Z 5S4 Canada
ABSTRACT
Intermediate level waste from Ontario Hydro's nuclear program consisting principally of bulk resin and filters are stored in above-ground structures or in in-ground containers (IC). As part of a characterization program, an in-situ technique was developed to gamma assay bulk resin waste contained in 3 m3 carbon steel liners and stored within 18 m3 (IC-18s) and 12 m3 in-ground containers (IC-12s). The technique is based on the use of a cadmium telluride detector which has a resolution intermediate between those of commonly used germanium and sodium iodide detector systems. Application of the in-situ technique (the detector was lowered to various depths to assay selected liners) demonstrated that scans can be performed without incurring a significant dose expenditure in fields as high as 5R/h without the use of a collimator and in higher fields if a collimator is employed. Detector efficiencies for the liner source were derived using efficiency data for planar sources and calculations based on Microshield code. Activity of principal gamma emitting radionuclides such as Co-60 and Cs-137 obtained in this manner can be combined with data on scaling factors to quantify the total activity in the resin. Based on the experience gained, it is concluded that the CdTe detector system should be generally applicable for assaying other intermediate level waste packages where the objective is to determine principal radionuclides present rather than a detailed characterization of gamma activity.
INTRODUCTION AND BACKGROUND
Low and intermediate level radioactive waste (LILW) from Ontario Hydro's nuclear program is shipped and stored at the Reactor Waste Operations Site 2 at the Bruce Nuclear Power Development on Lake Huron. Some of the low level waste is either incinerated or compacted prior to storage; the remaining, which is not amenable to processing, is stored as non-processable waste. These wastes are stored in low level storage buildings and in trenches. Intermediate level waste consisting principally of bulk resin, filters and core components are stored in above-ground structures or in in-ground containers (IC).
Because of insufficient data on waste characteristics, Ontario Hydro Technologies under the sponsorship of Candu Owners Group is undertaking a characterization program to develop data to support current waste management practices as well as future waste disposal. Characterization of the activity in the waste involves 1) direct sampling of the waste to develop scaling factors relating the activity of difficult-to-measure alpha/beta emitters with the activity of easy-to-measure gamma emitters such as Co-60 and Cs-137, and 2) the development of gamma assay techniques to quantify, with the help of scaling factors, the total activity in waste packages. This paper describes recent work on the development of an in-situ technique for assaying gamma activity in resin waste contained in 3 m3 carbon steel liners (overall height 180 cm x 163 cm diameter) and stored within 18 m3 (IC-18s) and 12 m3 in-ground containers (IC-12s). An in-situ technique for assaying resin overcomes the significant difficulties associated with obtaining a representative sample of resin and its subsequent handling.
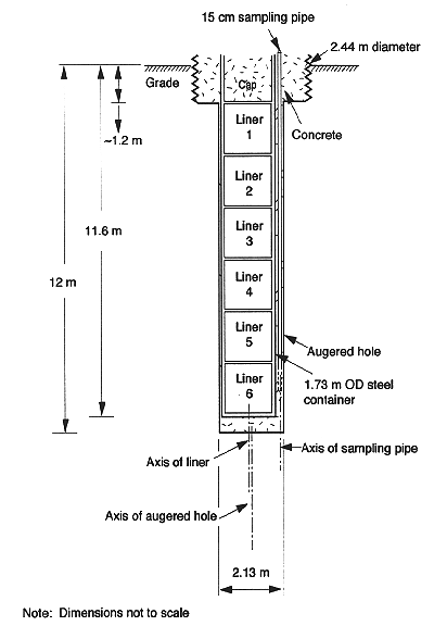
The IC-18 is a steel container with diameter 1.73 m and depth 11.6 m. It is housed within an augered hole of diameter 2.13 m and depth 12.0 m. Its axis is displaced from the axis of the augered hole to allow a 15 cm diameter sampling pipe (the pipe extends above grade and narrows down to a diameter of 10 cm at the top) to run along the depth of the steel container. The interspaces in the augered hole are backfilled with concrete. Typically, the IC-18 is used to store up to six 3 m3 resin liners. The storage space within some IC-18s is further subdivided to facilitate storage of long small diameter objects such as core components. For shielding purposes, concrete plugs are placed on top of the liners before installing cover plates. A simplified sketch of the IC-18 is shown in Fig. 1. For the purpose of discussion here, the resin liners within an IC-18 are numbered from 1 to 6 with Liner 1 located at the top and Liner 6 at the bottom.

Fig. 1. Schematic of
IC-18 inground container.
Compared to IC-18s, IC-12s are less deep and can accommodate four 3 m3 resin liners. Also, the sampling pipe associated with the IC-12s has a diameter of only 5 cm.
Radiation fields inside the sampling pipes associated with the IC-12s and IC-18s may range from a few mR/h for old (greater than 5 y) resin to over 1 R/h for fresh resin. The fields have a significant component of scattered radiation arising from the passage of the primary radionuclide emissions through several centimeters of metal and concrete. Figure 2 shows the variation of radiation fields in a number of IC-18s arising as a result of the placement of liners containing widely different activities.

Fig. 2. Variation of
radiation field with depth in IC-18s.
Two methods for in-situ gamma spectrometry of the stored resins were investigated:
The first option allows relatively fresh resin to be assayed without incurring dose. The second option is suitable for assaying resin with lower activity in which case the radiation field inside the sample pipe may be too low to record a reasonable spectra. In contrast to the first option, this requires the removal of the cover plate and the concrete plugs to access the interspace (less than 5 cm) between the stored liners and the wall of the in-ground container. Because the top of the uppermost liner is at least 1 m below grade, dose expenditures when performing measurements using the second method are also likely to be very modest.
Based on the above considerations, a compact detector system able to perform under variable radiation fields (ranging up to a few R/h) was required. Neither a germanium nor a sodium iodide detector was considered suitable for this application. Although germanium detectors have excellent resolution, their requirement to be liquid nitrogen cooled adds to the complexity of the equipment. The sodium iodide detector inherently has poor energy resolution characteristics; also, it would be inoperable under high radiation fields unless it was available in a sufficiently small size. On the other hand, cadmium telluride (CdTe) detectors (1) possess the required attributes, namely, small size, operability under high radiation fields and at room temperature, and a modest resolution (intermediate between that of sodium iodide and germanium detectors). The lower resolution of the CdTe detector compared to that of a germanium detector was not considered to be a serious limitation because peaks associated with typical scaling factor reference nuclides can still be satisfactorily resolved. Typically, CdTe detectors are employed in spectrometric applications involving low energy photons and X-rays at which energies the detectors are very efficient. Their significantly lower effeciencies at energies corresponding to Cs-137 emissions and higher, rather than being a disadvantage, allows the detectors to be exploited for high radiation field applications such as the one described.
Details of a cadmium telluride detector system and its application to assaying resin liners within IC-18s and IC-12s are described next.
CADMIUM TELLURIDE DETECTOR SYSTEM AND ITS CALIBRATION
A CdTe detector (Model BB2-8CO) along with a specially re-configured preamplifier (Model PCT-4) was procured from Radiation Monitoring Devices Inc. (RMD), Watertown, MA. The detector, a 2 mm cubic element is contained within a housing of diameter 1 cm and length 1 cm.
The preamplifier housing is 3.8 x 5.1 x 15 cm. A small signal amplifier incorporated in the housing allows the main amplifier to be located remotely (up to 45 m away). The end plate of the housing, on which the detector housing is mounted, was replaced with a tungsten alloy plate to provide back shielding.
The power supply/amplifier to preamplifier cable was attached to a NIM module at one end and to the preamplifier at the other end. In addition to transmitting the preamplified detector signal to the amplifier, the cable also supplies the preamplifier with its operating voltage (±12 V DC & ground) as well as the detector's bias voltage (60 to 250 V DC).
To minimize peak distortion typically observed in CdTe spectra (2), RMD's Spectrum Enhancer Model 100 amplifier equipped with pulse Selection and Compensation modes was utilized. Other system components included a Canberra Model 8077 analog to digital converter, an EG&G high voltage supply and an EG&G MicroACE multichannel analyzer computer card.
The detector system is shown in Fig. 3. The collar around the preamplifier housing allows the detector to be centered inside the sample pipe. When lowered through the 10 cm opening at the top of a sampling pipe, the springs fold over allowing the detector assembly to be inserted; as the detector is lowered further into the sample pipe where the diameter enlarges to 15 cm, the springs relax and maintain the detector centrally in the pipe.

Fig. 3. Cadmium Telluride Detector
System showing a) detector housing b) detector/pre-amplifier assembly with pipe
centering collars c) collimator d) Plug.
The collimator and plug as shown in Fig. 3 were designed to reduce low energy scatter from entering the detector. The collimator consists of two cylindrical blocks of tungsten alloy housed within a thin aluminum tube. The spacing between the two blocks was designed so that when the detector housing is inserted through the hole in the thinner block, the detector within the housing is located in the interspace between the blocks and receives radiation impeded only by the thin aluminum layer. The collimator was bolted to the preamplifier housing. The design of the collimator ensures that when the assembly is lowered in to the sample pipe, radiation will enter the detector directly through the circumferential opening in the collimator regardless of the angular orientation of the suspended assembly.
The plug provides a measurement of the background radiation entering the detector. It consisted of a block of tungsten alloy having the same overall dimensions as the collimator.
The CdTe system was assessed in the laboratory and optimal settings for the bias voltage and the amplifier settings were determined. The full-width-half-maximum values for the 0.662 MeV Cs-137 and the 1.173 and 1.332 MeV Co-60 peaks were respectively, 17.4, 19.8 and 19.1 keV.
Calibration data were developed using planar Co-60 and Cs-137 sources. The response of the detector was expressed in count rate (counts/s) per unit flux (MeV/cm2/s) where the flux was calculated using the Microshield code (3). The average response of the detector for 0.662 MeV Cs-137 photons and 1.17 and 1.332 MeV Co-60 photons was, respectively, 1.77x10-4, 1.36x10-5 and 0.90x10-5 (counts/s)/(MeV/cm2/s). These responses, being largely independent of the source geometry, were applied to quantify the activity of radionuclides from photopeak areas observed in the field spectra.
Figure 4 shows the typical spectra obtained with and without the collimator under laboratory conditions.

Fig. 4. Spectra obtained using CdTe
detector (a) without collimator (b) with collimator.
ASSAY OF LINERS WITHIN IC-18S - DETECTOR LOCATED IN SAMPLING PIPE
Based on the radiation field variations shown in Fig. 2, several measurement locations within the sampling pipes of in-ground containers IC-1805, IC-1809 and IC-1840 were selected to assess the performance of the CdTe detector system. IC-1805 was included in the assessment even though it contained core components because this allowed the detector system to be evaluated at fields greater than 1 R/h. The radiation fields in IC-1809 and IC-1840 were not high enough to require the use of the collimator. A collimator was, however, employed in the case of IC-1805.
Radiation fields were measured using an unshielded Scintrex gamma probe and also using thermoluminescent (TLD) chips. Use of the TLDs allowed fields to be measured during scans at the specific location of the CdTe detector. For measurements without a collimator, TLDs were taped to the CdTe detector housing and exposed during the scan period. When a collimator was employed, the TLDs were separately exposed by placing them inside the cavity within the collimator or plug which was then remounted on the end of the preamplifier housing (the CdTe detector was detached from the preamplifier during these measurements). Controls were exposed in each case to account for exposure received during the lowering to and withdrawal from the measurement depth.
Compared to spectra acquired in the laboratory, the field spectra indicated a significant presence of scattered photons although the photopeaks of observed nuclides were reasonably well defined. Data obtained for the selected IC-18s are summarized in Table I. Note the following:
TABLE I Results of Gamma Scans and Radiation Field
Measurements at Selected IC-18s

Determination of Gamma Activity
Results for resin liners in Table I were interpreted to determine the activity of detected radionuclides. The measured activity levels were validated by demonstrating an agreement between radiation fields estimated from the measured activity (the Microshield code was utilized for this purpose) and the corresponding measured radiation fields. The approach used is outlined below:

Effect of Adjacent Liners
Calculations performed using Microshield to determine the contribution of
increased resin bed height on the radiation fields inside the sampling pipe,
indicated that as the bed height increased, the additional contribution to the
radiation field (at mid-height of the resin bed) decreased significantly; the
curve for the Cs-137 levels off faster than that for Co-60. Thus, for a bed
height of 170 cm,
80% of
the radiation field is due to
50 cm of resin.
Thus, in the case of the IC-1809 measurement at 8.8 m, 80% of the counts or
field was due to a column of resin between 8.55 m and 9.15 m with resin below
and above these levels contributing 20% of the signal. It follows that each
liner can be independently assayed without collimating the detector if scans are
performed at depths which correspond to the middle of the liners.
Situations may arise where the resin in adjacent liners has significantly more activity. In these cases, collimation of the detector may be a requirement.
ASSAY OF LINERS WITHIN IC-12 - DETECTOR LOCATED WITHIN IN-GROUND CONTAINER
Recently, a 12 m3 inground container IC-1209 was opened up and the shielding slabs removed to assay the top liner for possible selection in a liner retrieval and resin sampling program. The opening of the container was necessitated because of low radiation fields and hence the impracticality of attempting assay measurements from the sampling line. The top resin liner, Liner 1, was assayed using a germanium detector while the lower liners were assayed using the CdTe detector.
Measurements using the CdTe detector were performed at depths of 4.1 m (13.5 ft), 5.9 m (19.5 ft) and 7.8 m (25.5 ft) which correspond, respectively, to the mid-heights of Liners 2 (second liner from top), 3 and 4. TLDs were attached around the detector housing to measure radiation fields at the scanning locations.
Table II summarizes the results obtained. They indicate that Liners 1-3 contain resin with similar activity (Co-60 was the dominant radionuclide); radiation fields measured at these liners were also similar. Although Cs-137 and Sb-125 were also detected in the spectrum collected at Liner 1, their levels in Liners 2 and 3 were perhaps too low to be observed on the CdTe spectra. In distinct contrast to the results for Liners 1-3, the spectra for Liner 4 indicated Cs-137 to be the principal radionuclide present.
TABLE II Results of Gamma Scans and Radiation Field
Measurements in IC-1209

Following the procedure outlined earlier, the Cs-137 and Co-60 fields corresponding to the measured count rates were calculated and then corrected for dose buildup (the dose buildup factors corresponding to the IC-12 measurement geometry were estimated to be 3.9 for Cs-137 photons and 2.3 for Co-60 photons). The calculated fields for Liners 2 or 3 and Liner 4 were 230 and 54 mR/h, respectively. The measured fields are consistently lower (18.5%, 53% and 15% lower for Liners 2, 3 and 4, respectively) than the estimated fields possibly because of the shielding effect of the tungsten plate. Considering this effect and errors in the TLD measurements, the observed discrepancy is not considered to be significant.
Based on Microshield and the IC-12 geometry, a resin activity of 1 µCi Cs-137 per mL gives rise to a radiation field of 367 mR/h at the detector. Similarly, a resin activity of 1 µCi Co-60 per mL resin gives rise to a radiation field of 1366 mR/h at the detector. Therefore, the Co-60 activity in Liners 2 and 3 was estimated to be 0.17 µCi/mL and that in Liner 4 to be 0.017 µCi/ml. Similarly, the Cs-137 activity in Liner 4 was estimated to be 0.084 µCi/mL.
Although Liner 1 was not scanned using the CdTe detector, its Co-60 activity was inferred from the activity of the resin in Liner 2 (or 3) based on the ratio of the measured radiation fields. Thus, the Co-60 activity in Liner 1 was estimated to be 0.114 µCi/mL (=130x0.17/194). This value was in excellent agreement with the Co-60 activity measured on a sample of resin subsequently obtained from Liner 1.
The detector efficiencies in units of (Counts/s)/(µCi/mL) were determined to be 6.43 (= 0.54/0.084) for Cs-137 photons and 1.94(= 0.33/0.17) and 1.44 (=0.245/0.17), respectively for the 1.17 and 1.33 MeV Co-60 photons. These efficiencies were well represented by the linear fit

CONCLUSIONS
The use of a compact cadmium telluride detector to quantitatively assay resin waste was demonstrated. Despite its limited resolution compared with a germanium detector, the cadmium telluride detector permitted quantitative measurements of principle gamma emitters normally employed as reference nuclides in scaling factors for difficult-to-measure radionuclides. The measurements can, therefore, be employed along with scaling factors to quantify the activity of longer-lived radionuclides in resin.
The technique can determine the spatial distribution of activity in individual resin liners. Without detector collimation, scans can be acquired at fields up to 5R/h. With collimation, the low energy scatter is significantly reduced and measurements (field of view can be reduced as desired) at fields much higher than 10 R/h are feasible. The uncollimated detector essentially viewed about 0.6 m of resin in the liner; with collimation this can be reduced as desired.
In general, the CdTe detector system should be applicable for assaying other intermediate level waste packages where the objective is to determine principal radionuclides present rather than a detailed characterization of gamma activity.
REFERENCES