Paul J. Valenti, James Paul, and R. Scott Roberts
West
Valley Nuclear Services Co., Inc.
ABSTRACT
A primary objective of the West Valley Demonstration Project (WVDP), located at the former nuclear fuel reprocessing plant at West Valley, New York, is to solidify the high-level radioactive waste stored in underground tanks into a form suitable for transportation and disposal. Vitrification has been chosen as the method of solidification. This paper discusses the process techniques applied, describes the operational experiences, and presents results available from the recently initiated radioactive campaign.
INTRODUCTION
Project Background and Pretreatment of High-level Wastes
The fuel reprocessing plant construction was completed in 1966 by W. R. Grace Company and was operated by Nuclear Fuel Services. Operations were stopped in 1972 after reprocessing approximately 700 tons of spent nuclear fuel. Construction of the Vitrification Facility was completed in 1995 and is depicted in Fig. 1.

Fig. 1. Vitrification Facility.
As a result of reprocessing operations, about 2,200mx3 (600,000 gallons) of high-level liquid plutonium uranium extraction (PUREX) process waste was produced. This waste was neutralized with sodium hydroxide and stored in an underground carbon steel tank. A sludge layer of insoluble hydroxides, mostly ferric hydroxide, precipitated to the bottom of the tank, leaving a relatively clear liquid supernatant above the sludge. The primary radioactive isotope that remained in the supernatant was Cs137. The other radioactive isotopes, mostly Sr90, became part of the sludge. The supernatant contained about 16 E6 Ci of activity, and the sludge contained an additional 16 E6 Ci.
From a special reprocessing campaign for fuel containing thorium, about 30 m3 (8,000 gal.) of acidic thorium extraction (THOREX) process waste was produced. This waste was stored separately in an underground stainless steel tank and contained about 2 E6 Ci of activity.
The supernatant portion of the high-level wastes (HLW) was pretreated by zeolite ion-exchange between 1988 and 1991. This process removed >99.9% of the Cs137 allowing the remaining supernatant phase containing 88% of the nonradioactive sodium to be processed as a low-level waste (LLW). Removal of the sodium was done to improve the vitrification process. The PUREX waste sludge contained about 20tons of sulfate in the form of precipitated sulfate salt. After the supernatant treatment, the sludge was washed in a series of three steps. The HLW tank was filled with demineralized water, treated with sodium hydroxide to keep uranium and plutonium in the precipitate, and processed through the ion-exchange system to remove the salts. This combination of the supernatant and sludge washing pre-treatment will result in a 98% overall reduction in the quantity of HLW boroscilicate glass produced.
Upon completion of the pretreatment, the Cs137- loaded ion-exchange media and the acidic THOREX wastes were transferred to the HLW tank and mixed with the remaining sludge in preparation for vitrification.
Summary of the Vitrification Process
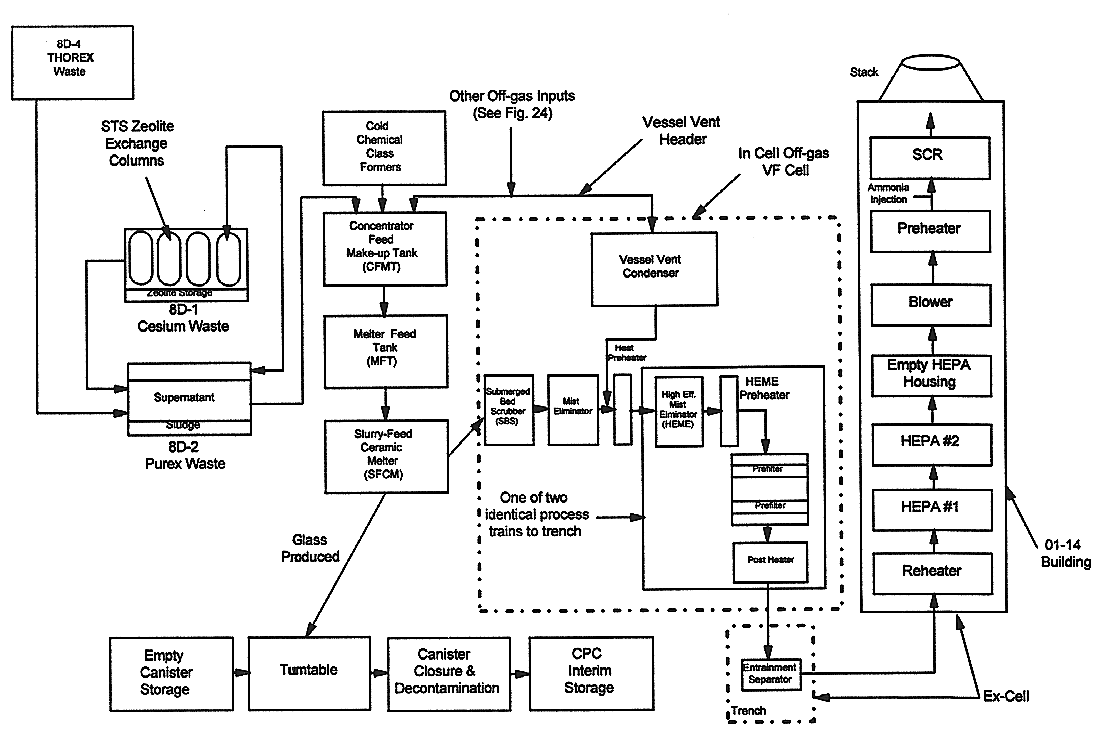
The ion-exchange media and the THOREX wastes were combined with the washed sludge and then thoroughly mixed. The resultant feed is now transferred in batches to the concentrator feed makeup tank (CFMT) in the Vitrification Facility (VF) shielded process cell. While the waste is concentrated, a sample taken from that batch is analyzed to determine the proper amount of glass-forming and oxidation-control ingredients to be added. Glass formers include silica, sodium tetra borate, potassium hydroxide, lithium hydroxide, aluminum hydroxide, and titanium dioxide. The additive for controlling oxidizing conditions in the melter is sucrose. Following concentration and addition of the additives, the resulting slurry is thoroughly mixed and transferred to the melter feed hold tank (MFHT). Figure 2 is a flow diagram of the major components in the Vitrification Cell.
From the MFHT, the waste slurry is pumped into the slurry-fed ceramic melter (SFCM). The SFCM is operated at a temperature of about 1,150°C to produce molten glass. The molten glass is air-lifted from the melter to a waiting canister that is positioned under the melter pour spout on a turntable. In the canisters, the glass cools and hardens, with the radioactive materials atomically bonded in the glass structure. The canisters are capped and seal-welded, decontaminated, and transferred for interim storage into one of the existing shielded cells in the old reprocessing plant. They will remain there until a federal repository or alternate off-site storage facility is identified. Approximately 300 HLW canisters will be produced.
The gaseous effluent from the melter is scrubbed in a submerged bed scrubber (SBS), processed through a high-efficiency mist eliminator (HEME), and filtered before leaving the shielded Vitrification Cell. Before the off-gases are released to the environment, they are further filtered through high-efficiency particulate air (HEPA) filters and the majority of the oxides of nitrogen are eliminated by selective catalytic reduction.
All major in-cell vessels are designed with sufficient life expectancy to complete the vitrification campaign without replacement. Accessories that require maintenance can be remotely removed and replaced.
DETAILED PROCESS DESCRIPTION
Feed System
Figure 2 is a schematic of the process flow diagram for the vitrification process. The HLW stream (slurry) is transferred in batches from the storage tank via a submerged vertical turbine pump, through a shielded underground pipe, and into the 3 meter diameter by 4.3 meter high, 23,000 liter capacity CFMT. After each transfer of approximately 8,000 liters (which is mixed with the heel from the previous batch), the CFMT is heated to evaporate and concentrate the HLW slurry. Through remote-handled equipment, diluted samples of the pre-boiled slurry are dissolved and both atomic absorption (AA) and inductively-coupled plasma (ICP) analytical tests are performed. The mixture of glass formers, nitric acid, and other chemicals needed to meet specifications for melter feed are determined based upon the HLW sample analysis results and the measured volume of the CFMT. These chemicals are measured and mixed in the Cold Chemical Facility and pumped into the CFMT where the agitator stirs the mixture. Following receipt and mixing of the glass-forming chemicals, the CFMT is sampled and analyzed to verify batch quality. Typically, more than 20 elements are analyzed, although only 15 are included in the composition control. These 15 (Al, B, Ca, Fe, K, Li, Mg, Mn, Na, P, Si, Th, Ti, U, and Zr) typically account for more than 98% of the glass composition.

Fig. 2. Vitrification Facility flow
diagram.
The feed slurry is transferred from the CFMT to the MFHT via a submerged steam jet system. The MFHT is a 3 meter diameter by 3 meter high vessel with a 22,000 liter capacity. The use of the MFHT allows continuous feed to the melter to take place simultaneously with feed batch preparation in the CFMT. Feed to the melter is provided by an air displacement slurry (ADS) pump installed inside the MFHT. This pump has a 2-liter pump chamber located near the bottom of the tank. A bottom checkvalve is automatically opened to permit the flow of slurry into the chamber. After a programmed period of time, the valve is closed and air is added to the chamber, pushing the slurry out of the pump.
Slurry-fed Ceramic Melter (SFCM)
The SFCM is the key piece of equipment in the vitrification process and operates on the same principle as many electrical melters in the commercial glass industry. Figure 3 is a cutaway representation of the SFCM. The function of the melter is to dry and melt the slurry that is fed to it, converting the slurry to glass. The melter heating unit consists of three electrode plates in contact with the glass. Two of the three electrodes are located in the sides of the vessel. The third electrode is in the floor. The refractory wall areas are cooled by a closed-loop cooling water system and the electrodes are air cooled. The firing pattern for the melter is a regular sequence among all three electrodes, using silicon control rectifiers. The electrodes, fabricated from Inconel 690, draw approximately 120 kW during normal process operation. The weight of the SFCM is 43,000 kilograms including the molten glass, and its dimensions are 3 meters x 2.4 meters x2meters high. The nominal volume of glass in the melter is 860 liters.

Fig. 3. West Valley waste
vitrification system.
The feed slurry is pumped into the SFCM through the waste input feed nozzle. From 70 to 90% of the surface of the molten glass in the SFCM is normally covered with a crust of dried and calcined waste solids called the cold cap.
The molten glass is contained within a cavity made up of a highly corrosion-resistant refractory .
The bulk glass is heated and maintained in the melting cavity at a nominal temperature of 1,150°C. The molten glass exits the SFCM through the throat of the discharge duct located near the bottom of the vessel. To exit, molten glass rises up a tunnel, assisted by an air lift, into an overflow chamber, where it flows down a trough and drops into a receiving canister. The typical canister fill rate of 30 kg/h results in a normal canister fill time of approximately 63 hours.
The melter has two discharge channels, one for primary service and an installed spare. The discharge channel silicon-carbide heaters can be remotely removed and replaced, as necessary.
Melter off-gases collect in the area above the molten glass surface and are removed from that area through the off-gas vent. The melter cavity is maintained at a pressure of approximately -1.25 kPa, induced through the process off-gas blowers. The off-gas from the SFCM is composed primarily of steam, air, decomposition gases, aerosols, and volatile species, and is treated by the system components prior to being discharged through the Main Plant stack.
Off-gas System
Figure 4 is a flow diagram of the major components of the off-gas treatment system.
The first step in treating the off-gas from the melter is to quench it from a temperature of 400 to 500°C to approximately 45°C. This is accomplished by the melter film cooler and the submerged bed scrubber (SBS).
The film cooler consists of a louvered insert that supplies a cool air flow, approximately 4 m3/min, along the inner surface of the off-gas pipe. This serves two functions:
The SBS is a passive process mechanism that uses water to quench the off-gases and remove particulates. Off-gases are bubbled through water in a bed packed with ceramic spheres. The scrubber solution containing particulates is transferred from the SBS to the CFMT where it is mixed with other wastes and glass formers being fed to the melter.
The off-gas is next filtered by one of two parallel and redundant high-efficiency mist eliminator (HEME) units and prefilter exhaust trains. The HEME collects and coalesces entrained liquid droplets and removes submicron particulates from the gas. It is 99.8% efficient for liquid droplets 3 microns in diameter and larger. The HEME can be washed with water that is recycled back to the SBS. The HEME filter element is remotely replaceable.
After passing through the HEME, the gases pass through an electric preheater and one of two HEPA prefilter trains. After passing through the HEPAs, the gas is routed to an underground insulated duct (25.4 cm diameter pipe) to another building for final filtration and NOx treatment.
Ex-cell Off-gas Treatment
The ex-cell system provides final HEPA filtration of any radioactive particulates not captured by the in-cell components. The ex-cell processes include moisture removal, reheating, HEPA filtration, and catalytic NOx reduction. Gas flows through anentrainment separator, one of two electrical heaters, final HEPA filtration (parallel trains), then to one of three process off-gas blowers. From the blower, the off-gases pass through the NOx catalytic reactors prior to being directed to the Main Plant stack. The by-products of the off-gas treatment system are N2 and H2O.

Fig. 4. Off-gas flow diagram.
Canister Handling
The molten glass is poured from the melter into HLW canisters made of 304L stainless steel (empty weight approximately 183 kg). The canisters have a minimum wall thickness of 0.34 centimeter, an outside diameter of 0.61 meter, an overall height of 3.0 meters, and an opening of 0.42 meter. They are designed to contain approximately 1,900 kg of glass at a 85 percent fill level.
Canisters are positioned under the melter in a four-position turntable. The turntable/melter interface is designed to allow alignment, coupling, and decoupling of the turntable/canisters without shutdown of the melter, while minimizing air in-leakage to the system.
An eight-canister storage rack is located adjacent to the turntable in the Vitrification Cell pit. Filled canisters are moved to the storage rack for temporary storage or to the welding station. The welder utilizes a computer-controlled, remotely operated tungsen inert gas (TIG) process. The canister decontamination station consists of a chemical feed subsystem (ceric nitrate), a titanium decontamination tank, and a titanium neutralization tank. The use of the ceric nitrate decontaminates the exterior of the canister by a chemical etching process. After decontamination has been completed, the canisters are placed in the four-canister transfer cart and moved through the transfer tunnel into the high-level waste interim storage (HLWIS) area. In the HLWIS, the canisters are stacked two high in a storage rack.
Process Control
The method of data collection and process control for the Vitrification Facility is through the use of a computerized distributed control system (DCS). This system allows monitoring, control, and supervision of the processes in the Control Room from four redundant work stations. Manual process operation is also possible in the event of a loss of computer function. Plant parameters are displayed in graphic format. Complete systems can be viewed using overview screens that cascade into individual graphics. An alarm management system provides a safe and effective means of responding to out-of-tolerance parameters. Priorities are in place for specific operator responses. Red (urgent), yellow (caution), and white (setpoint deviation) alarms are each identified by a number on the control panel screen which refers the operator to a corresponding page in an alarm response procedure.
Two key features of the control system are the capabilities for real time and historical trending of process parameters. Due to the relatively slow response of the vitrification process, trending values on a graphics display is essential for the operator to be able to select the proper control values to be used. As part of the real time capability, process logs are generated and printed automatically on a pre-determined periodic cycle. Historical data is available for the operators and support staff for a period of up to 30 days directly from the DCS. Data is stored on tape for the life of the Project and can be called up to enhance troubleshooting and system monitoring.
SUMMARY OF OPERATIONAL EXPERIENCES
Melter Operations
Processing experience gained during five years of nonradioactive melter operational testing has been brought forward into the radioactive operation. During these test runs, glass chemistry (largely oxidation reduction [redox]) studies and methods of chemistry control were developed and have yielded excellent correlation with radioactive operations. There have been no indications of foaming and the WVDP melter is operating well away from the range where metal precipitation is expected to occur.
Maintaining a steady glass pour stream and controlling melter pressure has been a challenge throughout testing and radioactive processing. The pulsing action of the ADS pump and air leakage into the melter challenged the control loop and tended to make the entire process unstable. The unstable pressure control was initially addressed with electronic filtering of the control loops in an attempt to slow down the response of the air injection control valve. This method of control masked actual system deficiencies and was considered ineffective. The control system was successfully modified by installing a high-speed data acquisition system and a quicker acting pressure control valve.
Salt buildup in the off-gas jumper during the first week of radioactive processing resulted in an undesirable pressure drop across the system. Use of thermal imaging and radioactive activity sensors identified the exact location of the partial plug. A water flush line was installed in the melter air injection line and is periodically activated to steam clean the off-gas jumper. This method has been successful in clearing the buildup. The source of the problem was determined to be excessive air supply pressure to the ADS pump, which tended to spray the feed toward the off-gas nozzle. The air pressure was reduced and there has been no further appreciable buildup.
Viewing the melter glass surface is accomplished by an infrared periscope apparatus that is installed in the plenum section. This capability was extremely beneficial in determining cold cap coverage during the early phases of processing. Operators have gained experience in correlating percent of melter surface coverage to other parameters and, as a result, the need for this capability has been diminished. The air and steam cleaning of the periscope lens has been insufficient and does not prevent particulates depositing in the lens area. Modifications to the spare periscope are in progress and will be installed during a planned outage period.
Glass temperature control has been satisfactory. The inherent slow rate of glass circulation in the melter, in combination with airlifting and cold cap movement, has occasionally resulted in temperature excursions. These have generally been satisfactorily controlled by the automatic control system. Operators, however, are prepared to take action as necessary due to the programmed rate-of-rise limitations of the control system and the desire to keep the bulk temperature within 50 degrees of the setpoint.
The silicon-carbide discharge chamber heater elements have exceeded expectations for useful service. These units had a lifetime expectancy of approximately 10 months based on experience gained during nonradioactive testing. Thus far, due apparently to better system air in-leakage control, it is projected that the heaters will exceed the previous units lifetime by 2 to 3 months.
DCS (Distributed Control System )
The initial control philosophy that was developed resulted in an overall system configuration that defined 350 "urgent," 400 "caution," and 50 "process deviation" alarms. Each alarm required a specific response by the operator in addition to prioritization of the alarms received, and resulted in a significant management challenge. Following a major re-engineering effort, the number of alarms were reduced to 77 "urgent," 175 "caution," and 50 "process deviation," which has proven to be easily managed and allows the operators time to more efficiently focus on the overall plant process.
Feed Make-up
Efficiency of glass former batch make-up has improved dramatically since the start of radioactive processing. This has been accomplished primarily by better chemical management techniques, such as: adding process and calculation verification steps, premixing, and mockups. Due to the consistency of the waste, slurry acceptance engineers (SAEs) now generate premix recipes well in advance of the final recipe. These recipes allow for the addition of bulk reactive chemicals up front, eliminating the need for temperature cooldown periods during the final mix. Shift engineer verification of chemical additions and SAE independent verification of recipe calculations have virtually eliminated the need for corrective chemical shims. Analytical cell mockup training and experience gained by the lab technicians have resulted in substantial time savings in cold and hot lab analysis. The in-cell slurry sampling unit has been modified with input from the plant operators, reducing a typical batch sampling time from eight hours to one. Glass-former chemical makeup is the critical path activity in the process and, as a result of the above modifications, production has remained on schedule. An additional improvement was the modification of the dry chemical addition sequence to take advantage of the scouring effect provided by borax and similar constituents. The finer materials that tend to deposit in the bends and joints of the delivery system piping are added prior to the more abrasive chemicals, which are added in separate smaller batches to cleanse the line.
Slurry Feeding and Level Indication
The ADS pump provides a relatively high slurry velocity during pumping, followed by a high-pressure air pulse, which has essentially eliminated the plugging problem normally encountered in slurry delivery systems. The pump provides feed to the melter with flow rates between 50 and 150 liters per hour. Pump pressure is plotted on a real time trend in the Control Room and is continuously monitored to detect the slightest irregularity in flow pattern. Water flushes are performed when a variation is detected or a noticeable decrease in feedrate is observed. This clears any blockage and feeding is quickly reestablished. CFMT and MFHT tank level instrument bubbler plugging is almost nonexistent. An automatic, periodic air purge with water and steam flush capability, combined with the benefit gained by having three complete sets of instrumentation, have been the key to identifying pending line plugs and allowing quick action to clear the buildup.
Canister Fill and Handling
The HLW canisters are being filled to between 85% to 90% full. The glass pour view and infrared canister level detection system (ILDS) have been outstanding in determining the percent fill and level of the canister being filled. The ILDS units have been virtually trouble free. Tracking canister fill by ILDS is backed up by load cells and mass-balance calculations. Final fill verification is performed by direct measurement at the weld station and has been within one percent of the ILDS indication. The light intensity displayed on the pour view system is used as a backup to airflow indication of airlift flow rates during pours.
The canister weld machine has operated very well. Scheduled preventive maintenance to replace the weld head is the key to minimizing the need for rewelds.
The canister decontamination system has resulted in all canisters produced to date meeting Department of Energy (DOE) repository limits for removable contamination. Initial temperature control and tank cooling coil pressurization problems have been corrected with piping modifications and control-loop tuning. The weight of the decontamination tank lid was over the lifting capabilities of the manipulator and caused damage to the manipulator fingers. A new lid with counterweights was manufactured and installed remotely.
There have been no deficiencies noted during in-cell canister movements. The transfer cart battery failed once during canister transfer in the Chemical Process Cell (CPC) and was successfully retrieved and repaired without delay.
Process Off-gas
The design of the off-gas system requires the use of demineralized water injected into the off-gas stream to provide cooling for the in-service, off-gas blower. This moisture created a need for system design enhancements to remove the moisture and maintain the required gas flow for accurate NOx and NH3 monitoring. The installation of air dryers and chiller units in sample lines to condense and extract the remaining moisture has resulted in the system's abatement efficiency to increase from 60 to over 90 percent.
Support Systems
The in-cell process crane has performed well. Minor electrical and mechanical problems have resulted in very few Crane Maintenance Room entries. Through the use of proper planning and attention to detail, these entries have resulted in very low radiation exposure and no personnel or equipment contamination.
Staffing
To provide personnel an adjustment period, continuous rotating shift coverage began early in the testing phase thereby allowing crew members to adjust to the schedule. Due to the need to have multiple testing evolutions going on at any one time, a twelve-hour-per-day rotation with four crews was adopted. Based on the initial projected needs, the original staffing plan of twelve operators, one supervisor, and one shift engineer per crew had to be increased to two supervisors per crew. This allowed one supervisor to focus on Plant process activities and the other on administrative details. Currently, the operators have been reduced to ten per crew which allows two operators to be assigned to a two-week continuing training session twice per year.
The Engineering Support organization has been a key element in the success of vitrification at WVDP. The department is organized into five support areas: work planning, component engineering, system engineering, process engineering, and operations support. The majority of the personnel in these groups were involved throughout the testing process and have an excellent knowledge of the Plant equipment and operations.
Training/Qualification Program
A functional plant in which to train and qualify personnel is the optimal means to attain a knowledgeable operations staff. Due to the need to conduct Vitrification Facility construction and turnover in parallel as systems became available, this method of training was not possible. Alternatively, the WVDP adapted an accelerated training and qualification program that allowed the operators a six- week period of dedicated time to complete the majority of the system training requirements. This was done in parallel with maintaining around-the-clock support for Plant startup and testing. In order to obtain four fully-qualified crews prior to Plant integrated testing, three to four operators and one supervisor from each crew were rotated off shift for the six- week training period. Upon successful completion of their training, they rotated back onto crew to complete the field portion of the program and resume equipment and subsystem testing support. The shift engineers utilized a separate, self-paced, in-depth training process to qualify.
Personnel Exposure Experience
Design of the Vitrification Facility encompassed the principle of keeping worker radiation exposure As Low as Reasonably Achievable (ALARA) as proven by the low radiation levels exhibited in the Vitrification Facility operating aisles and near the shield wall penetrations during production of high-level waste. As a result of radiological surveys conducted in the operating areas at a 100% design cell loading, several restrictions on occupancy have been relaxed from those anticipated from design calculations.
SUMMARY OF VITRIFICATION SYSTEM PERFORMANCE
After an intensive Operational Readiness Review (ORR), the system began radioactive operations on June 24, 1996 with pouring of the first canister completed on July 5, 1996. An overall system availability rate of >80% has been attained thus far with minimal equipment problems since completing the extensive nonradioactive testing period.
Table I Project Plans Radioactive Processing Summary as of 10/31/96

Project Plans
The West Valley Demonstration Project will complete processing the high-level waste by June 1998. The Vitrification Facility will then be available to process other waste streams being identified in the overall site cleanup.