Wang Xian De
Beijing Institute of Nuclear Engineering
(BINE)
P.O. BOX 840, Beijing, China, 100840
ABSTRACT
The present development and relevant policy of waste disposal in China are briefly presented. The characteristics and package of waste are also described. Regional disposal was determined as the national policy for low-and intermediate-level radwaste because of the nuclear facilities and owners of radwaste are distributed centrally in several regions of China. Disposal of wastes in under ground and above ground have been adopted as the main manner for low-and inter mediate-level radwaste. Two repositories named Northwest and Beilong are under construction. Main features of those repositories are described in the paper.
INTRODUCTION
At the beginning of 1980s, radwaste management was focused on the disposal of waste. Since then some policies, programs, standards and technical criteria have been worked out to meet the requests of radwaste disposal, the siting and construction of repositories have also been consideration.
By the end of 1990s, two repositories of low-and intermediate-level radwaste will be operated at the northwest and south area of China. Along with the development of nuclear energy and application of nuclear technology, siting of disposal facilities is being conducted at the east or other area. Four or five repositories will be constructed in order to dispose the accumulated waste of nuclear industry, the waste generated by the decommissioning of early nuclear facilities or the operation of nuclear power plants in accordance with the national program.
Near surface disposal is adopted for low-and intermediate-level radwaste in China. Solidification is demanded for existing liquid waste as early as possible. The duration of interim storage is not longer than five years for new produced waste of facilities and it is should be delivered to the repositories after their operation. The fund of construction for repository is supported by national investment and partial budget of nuclear power plant. The operation expense is relied on disposal charges from customer. China National Nuclear Corporation (CNNC) is responsible for the siting, construction and operation of repositories, but the approval of environmental impact assessment, issue of standards, inspection of disposal activities are performed by National Environmental protection Agency (NEPA) and its local administration.
WASTE CHARACTERISTICS
Wastes are divided into two kinds, which are wastes of nuclear industry and nuclear power plant based on their origin.
WASTE PACKAGE
Table I Dimension, Volume and Weight of Containers
SITE FEATURES
FACILITY DESCRIPTION
Northwest Repository
In Northwest repository, disposal units comprise several concrete vaults without bottom slab, concrete blocks and cover of 2 meters. The inside dimension of vault is 135(breve)23(breve)5.3 or 5.7 meters(L(breve)W(breve)H), the thickness of wall and cover of 2 meters. The inside dimension of vault is 135(breve)23(breve)5.3 or 5.7 meters (L(breve)W(breve)H), the thickness of wall and concrete blocks are 300 and 200 mm. The bottom of vault is laid of rammed soil, which should be strong enough to stand the loading of waste. The cover consists of five layers , they are soil, clay, grit, soil and gravel from bottom to top. The cover has a slop of 0.5% in order to drain off rainwater. The manner of mixed emplacement is applied to dispose wastes in vault. It means the canisters and drums with wastes are placed in the same vault. In general, canisters are laid on the bottom of vault and drums are put on them. Five layers of canisters and drums in which one or two layers are canisters are settled in vault based on their weight.
Beilong Repository
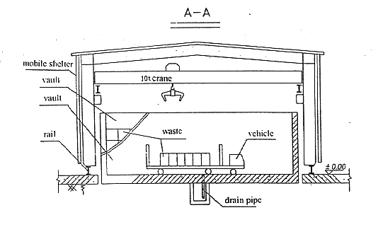
In Beilong repository, the outside dimension of vault is 17(breve)17(breve)7 meters (L(breve)W(breve)H) and the vault has a concrete bottom slab and a cover of 5 meters. A mobile shelter is installed on the disposal units to prevent rainwater entering into the vaults during disposing of waste. Figure 1 and Fig. 2 show the mobile shelter of vault.

Fig. 1. Mobile shelter of vault.

Fig. 2. Mobile shelter of vault.
The cover includes several layers, which are soil, sand, clay, sand, gravel, soil and plantation. The cover of vault in Beilong repository is shown in Fig. 3.

Fig 3. Cover of vault & drainage
system in Beilong Repository.
WASTE DISPOSING
The procedure of waste disposal includes inspection of waste, reception and registration, emplacement of waste ( or temporary storage ), backfill, casting of concrete block, covering of top.
When the vault is filled up with waste, the cement grout is poured into the gap of canisters or drums in Beilong repository, but the gap is filled with sand in Northwest repository. The waste could be stored in storage temporarily when the bad weather condition influences waste disposal.
SAFETY MEASURES
Several measures have been adopted in designing repository to protect environment from the potential pollution of radionuclides. The main aspects are as follows:
CONCLUSION
Near surface disposal is widely applied on low-and intermediate-level radwaste in the world based on its safety, economy. The options of under ground and above ground disposal have been considered according to the different site conditions in China. Although the experience originated from Northwest and Beilong repositories will be beneficial to the construction of repositories in the other areas late on but there isn't much knowledge in the operation. The further studies on the institutional control in the long period are still proceeding.
REFERENCES